Tonbandservice

Ein Portal für die Reparatur und Wartung von 

Geräten der Reihe UHER Report 4000 - 4400 

und UHER Report Monitor 4000 - 4400

Service-Manual für Report 4000L, 4200 und 4400

1. Funktionsbeschreibung

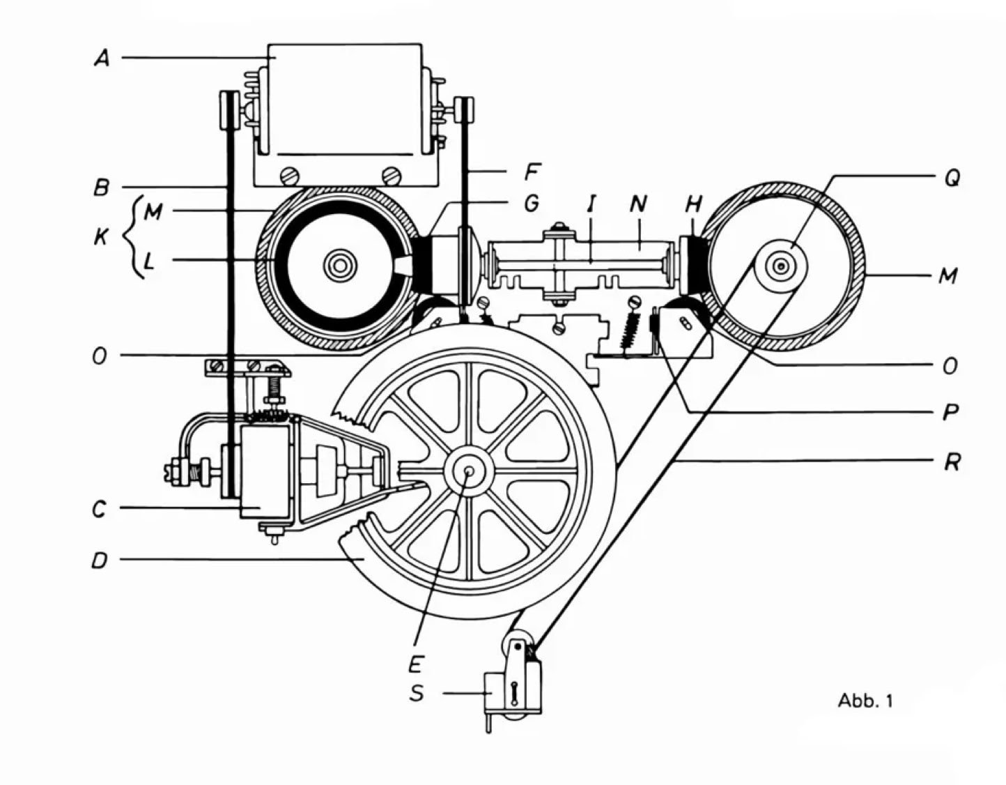
1.1 Laufwerk (siehe Abb. 1)

Der elektronisch geregelte Motor (A) treibt ber den Riemen (B) die Schwungmasse (C) an. Die Schwungmasse ist entsprechend der Bandgeschwindigkeiten mit vier Stufen versehen und schwenkbar gelagert. Sie dreht sich bei allen Bandgeschwindigkeiten gleich schnell. Durch Friktion von Schwungmasse (C) und Antriebsrad (D) erfolgt der Antrieb der Tonwelle (E), die gleichzeitig die Achse des Antriebsrades (D) darstellt. Die Wahl der Bandgeschwindigkeiten erfolgt durch Änderung des Ubersetzungsverhältnisses zwischen Schwungmasse (C) und Antriebsrad (D). Dabei wird gleichzeitig ber ein Gestänge die der jeweiligen Bandgeschwindigkeit entsprechende Entzerrung eingeschaltet.

Uber den Riemen (F) werden die Friktionsräder (G) und (H), die durch die Welle (I) miteinander verbunden sind, angetrieben. Die Friktionsräder sind mit einem kegelförmig geschliffenen Gummibelag versehen. Zum Verständnis des Antriebes der Kupplung (K) muß zunächst deren Aufbau erklärt werden. Sie besteht aus dem Antriebsrad (L), einer Kupplungsscheibe mit Filzbelag und dem Kupplungsoberteil (M). in Stellung "Start" gibt ein Schieber das zum Kupplungsoberteil (M) gedrckte Antriebsrad (L) frei, 2 Federn drcken das Antriebsrad (L) gegen den kleinen Kegel des Friktionsrades (G) und die Kupplung (K) wird transportiert.

Die Welle (I) mit den Friktionsrädern (G) und (H) ist in der Wippe (N) gelagert. Die Wippe wird ber ein Gestänge betätigt und bringt die Friktionsräder mit den Kupplungsoberteilen in Friktion. Dadurch wird der schnelle Vor- und Rcklauf in Tätigkeit gesetzt. Die Kupplungen sind als gewichtsunabhängige Reibungskupplungen ausgebildet. Damit ist das Mitnahmemoment nahezu ber die ganze Bandlänge konstant. Die Kupplungen arbeiten lageunabhängig und enthalten eine Arretierungsvorrichtung, mit der die Bandspulen gegen ein Herabfallen gesichert sind. Die Bremsung der Kupplungsoberteile erfolgt ber die Klemmrollen (0), die in angedrcktem Zustand zwischen das Kupplungsoberteil und die Zunge (P) geklemmt werden.

Das Antriebsrad (Q) treibt ber den Riemen (R) das Zählwerk (S) an.

1.2 Das Prinzip des Motors 

Der Motor besteht aus einem rotierenden Permanentmagneten, den feststehenden Ankerwicklungen und einem feststehenden zylindrischen Eisenkörper, der die ganze Einheit umkleidet. Die Ankerwicklungen werden über eine mehrstufige Transistorschaltung gespeist. Ein Anlaufverteiler steuert die Transistorschaltung in Abhängigkeit von der Rotorstellung.

Durch Fliehkraft-Einwirkung wird die Steuerung über den Anlaufverteiler lange vor Erreichen der Solldrehzahl unterbrochen. Nach Erreichen der Solldrehzahl verwendet man die, durch den Permanentmagnet-Rotor in den Ankerwicklungen erzeugten, Wechselspannungen zur Steuerung der Transistorschaltung. Durch Gleichrichtung der Wechselspannungen wird die nötige Information zur elektronischen Drehzahlregelung gewonnen.

1.3 Verstärker

1.31 Verstärker für Typ 4000 Report-L 

Der kombinierte, transistorisierte Aufnahme- Wiedergabeverstärker ist vierstufig. Er ist in gedruckter Schaltung ausgeführt und schwenkbar angeordnet. Die Gegentaktendstufe, sowie das Entzerrungsnetzwerk (NARTB) sind vom Aufnahme-Wiedergabeverstärker getrennt aufgebaut und einzeln auswechselbar. Bei Aufnahme kann über den eingebauten Lautsprecher mitgehört werden. Der HF-Generator arbeitet mit einer Frequenz von ca. 50 kHz und liefert die Hochfrequenzspannung für die Löschung und Vormagnetisierung des Tonbandes. Die Aussteuerungsanzeige erfolgt über ein Anzeigeinstrument, das zur Spannungskontrolle der Stromquellen umgeschaltet werden kann. 

1.32 Verstärker für Typ 4200/4400 Report Stereo 

Der kombinierte, transistorisierte Stereo- Aufnahme-Wiedergabeverstärker ist pro Kanal vierstufig. Er ist in gedruckter Schaltung ausgeführt und schwenkbar angeordnet. Die Endstufen sowie die beiden Entzerrungsnetzwerke (NARTB) sind je auf einer Leiterplatte vom Aufnahme-Wiedergabeverstärker getrennt eingebaut und einzeln auswechselbar. Bei Aufnahme kann der Kanal 1 über den eingebauten Lautsprecher mitgehört werden. Der Kanal II kann über einen Zusatzlautsprecher oder Kopfhörer, der an der Lautsprecherbuchse für Kanal II angeschlossen werden muss, mitgehört werden. Der HF-Generator arbeitet mit einer Frequenz von ca. 70 kHz beim Typ 4200, mit einer Frequenz von ca. 60 kHz beim Typ 4400 und liefert die Hochfrequenz für die Löschung und Vormagnetisierung des Tonbandes. Die Aussteuerungsanzeige erfolgt für jeden Kanal getrennt über je ein Anzeigeinstrument, wobei das rechte Instrument zur Spannungskontrolle der Stromquellen umgeschaltet werden kann. 

2. Mechanischer Teil 

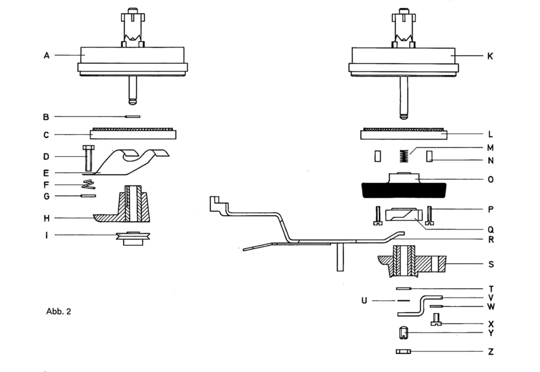
2.1 Kupplungen (siehe Abb. 2) 

Der Aufbau der Kupplungen ist aus Abb. 2 ersichtlich. Linke Kupplung: Kupplungsoberteil (A), Unterlegscheibe (B), Anzahl nach Bedarf, Kupplungsscheibe (C) mit Filzbelag, Schraube (D), Druckfeder (E), Druckfeder (F), Scheibe (G), Sintermetalllager (H) und Antriebsrad (I). Rechte Kupplung: Kupplungsobertell (K), Kupplungsscheibe mit Filzbelag (L), Druckfedern (M), Abstandhülsen (N), Antriebsteller mit Gummibelag (O), Verbindungsschrauben (P), Kupplungshebering (Q), Steuerschieber (R), Sintermetalllager (S), Unterlegscheibe (T), Anzahl nach Bedarf, Wellensicherung (U), Winkel (V) des Widerlagers, Unterlegscheibe (W), Schraube (X), Madenschraube (Y) und Kontermutter (Z).

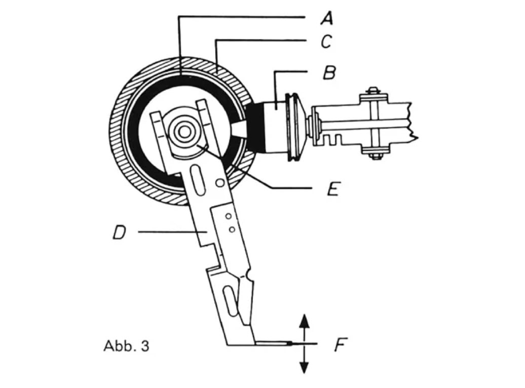
2.11 Vorprüfen der rechten Kupplung (siehe Abb. 3) 

Die Laufflächen des Antriebstellers (A) und des kegelförmigen Friktionsrades (B) sind zu reinigen. Das Gerät wird mit der Bandgeschwindigkeit 19 cm/s in Betrieb gesetzt und die Taste „Start" gedrückt. Anschließend ist durch Festhalten des Kupplungsoberteiles zu prfen, ob die Friktion zwischen Antriebsteller (A) und kegelförmigem Friktionsrad (B) stark genug ist. Der Antriebsteller (A) muß beim Festhalten des Kupplungsoberteiles (C) weiterlaufen. Er darf nicht stehenbleiben. Vor einer eventuellen Einstellung ist zunächst noch die Lage der Wippe für Vor- und Rücklauf (siehe Abs. 2.5) zu untersuchen. 

2.12 Einstellen der rechten Kupplung (siehe Abb. 3) 

Bei gedrückter Starttaste wird über den Steuerschieber (D) und den Kupplungshebering (E) der ursprünglich zurückgedrückte Antriebsteller (A) freigegeben und durch die Kupplungsfedern gegen den kleinen Kegel des Friktionsrades (B) gedrückt. Durch Biegen der Nase (F) des Steuerschiebers (D) in Pfeilrichtung kann die Friktion zwischen Antriebsteller (A) und dem Kegel des Friktionsrades (B) eingestellt werden. Nach Lösen der Taste „Start" und Drücken der Taste „Vorlauf" darf keine Friktion zwischen Antriebsteller (A) und dem Kegel des Friktionsrades (B) bestehen. Es muß mindestens ein Abstand von 0,5 mm vorhanden sein. Die Einstellung der rechten Kupplung ist dann einwandfrei, wenn sie bereits bei zwei Drittel gedrückter Starttaste dreht. Anschließend ist der Stummkontakt K 5 gemäß Abs. 4.22 einzustellen.

2.13 Prüfen des Abwickel- bzw. des Aufwickelzuges (siehe Abb. 4) 

Linke Kupplung: Gerät ausschalten, Taste „Start" drücken. Auf die linke Kupplung eine mit ca. 50 cm Band bewickelte 13-cm-Bandspule auflegen (Kerndurchmesser 45 mm). In das freie Bandende Federwaage einhängen und abziehen. 

Sollwert: 14 p ± 2 p. 

Rechte Kupplung: 

Auf die rechte Kupplung eine mit ca. 50 cm Band bewickelte 13-cm-Bandspule (Kerndurchmesser 45 mm) auflegen. In das freie Bandende Federwaage einhängen. Gerät einschalten und Taste „Start" drücken. Federwaage festhalten.

Durch das Festhalten der Federwaage wird die Kupplung abgebremst und kommt zum Stillstand. Jetzt wird die Federwaage langsam in Richtung des Bandlaufes bewegt, bis sich die Kupplung wieder dreht. In diesem Zustand zeigt die Federwaage den Aufwickelzug an.

Sollwert: 23 p ± 3 p.

Wird der Sollwert nicht erreicht, so ist zunächst zu prüfen, ob der Filzring auf den Kupplungsscheiben abgenutzt oder verschmutzt ist. Desgleichen sind die Laufflächen der Kupplungsoberteile zu reinigen. Eine Justiermöglichkeit für die Friktion zwischen Kupplungsscheibe und Kupplungsoberteil der rechten Kupplung wurde nicht vorgesehen und ist auch nicht notwendig. Falls der Sollwert des Aufwickelzuges nicht erreicht wird, kann die Ursache nur in einer Verschmutzung oder Abnutzung der Kupplungsteile liegen.

2.14 Ein- und Ausbau der Kupplungen (siehe Abb. 2)

Rechte Kupplung:

Befestigungsschraube (X) des Winkels (V) für das Widerlager lockern. Winkel zur Seite drehen, Wellensicherung (U) entfernen. Auf Unterlegscheiben (T) achten. Der Zusammen- bau erfolgt sinngemäß. Mit Madenschraube (Y) 0,1 mm axiales Kupplungsspiel einstellen. 

Linke Kupplung:

Das an der Unterseite der Kupplung befindliche Antriebsrad (I) entfernen und Kupplungsobertell (A) sowie Kupplungsscheibe (C) nach oben abziehen. Auf Unterlegscheiben (B) achten! Der Zusammenbau erfolgt sinngemäß.

2.2 Bremsen

Die Bremsen arbeiten wartungsfrei. Eine Einstellung ist nur nach Ersatz von Teilen erforderlich.

2.21 Prüfen (siehe Abb. 5)

Gerät ausschalten und eine, mit einem ca. 50 cm langen Band bewickelte Bandspule (Kerndurchmesser 45 mm) auflegen. Durch Abziehen in Pfeilrichtung ist zu prüfen, ob die Kupplungsoberteile merklich abgebremst werden. Diese Prüfung ist bei beiden Kupplungen vorzunehmen.

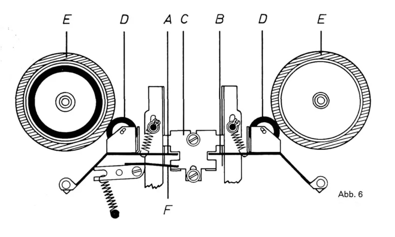
2.22 Einstellen (siehe Abb. 6)

Die Bremshebelarme (A) und (B) dürfen in Stellung „Stop" nicht am Schieber (C) anliegen. In Stellung „Vorlauf" und „Rücklauf" muß mittels der Bremshebelarme (A) und (B) ein Abstand von ca. 2 mm zwischen Bremsrolle (D) und Kupplungsoberteil (E) eingestelltwerden. In Stellung „Start" wird über den Hebel (F) der Schieber (C) betätigt, der wiederum die Bremsrollen abhebt. Die Einstellung erfolgt durch Biegen des Hebels (F) und ist so vorzunehmen, daß bei dem langsamen Drücken der Taste „Start" folgende Reihenfolge eingehalten wird: Zuerst muß die Bremsrolle vom Kupplungsoberteil abheben und anschließend die Andruckrolle das Band gegen die Tonwelle drücken.

2.3 Förderzug 

2.31 Prüfen (siehe Abb. 7)

Vor der Messung des Förderzuges sind sämtliche Bandführungselemente, die Tonwelle und die Andruckrolle zu reinigen. Die Messung ist mit einer Betriebsspannung von 6 V bei der Bandgeschwindigkeit 19 cm/s durchzuführen.

Zur Messung wird die mit einem Stück Tonband bewickelte Bandspule auf das rechte Kupplungsoberteil gelegt. In das freie Ende des Tonbandes die Federwaage (A) einhängen und festhalten (nicht abziehen). Nach Drücken der Taste „Start" zeigt die Federwaage den Förderzug an.

Sollwert: 275 p ± 75 p.

2.32 Einstellen (siehe Abb. 7)

Eine Veränderung der vom Werk vorgenommenen Einstellung sollte nur dann erfolgen, wenn der Sollwert des Förderzuges nicht erreicht wird und alle den Förderzug beeinflussenden Elemente ordnungsgemäß justiert sind.

Die Einstellung des Sollwertes von 275 p erfolgt durch Verschieben des Stützstreifens (B), nach Lösen der Sechskantschrauben (C) und (D). Verschieben nach links (—) vermindert, nach rechts (+) erhöht den Andruck.

2.33 Prüfen des Arbeitsweges der Andruckrolle

Diese Prüfung wird ohne Tonband durchgeführt.Bei dem langsamen Drücken der Taste „Start“ muss die rechte Kupplung bereits angetrieben werden, bevor sich die Andruckrolle dreht (s. hierzu auch Abs. 2.12 Einstellen der rechten Kupplung). Das ist nur dann der Fall, wenn der Arbeitsweg der Andruckrolle groß genug ist.

2.34 Einstellen des Arbeitsweges der Andruckrolle (siehe Abb. 7)

Die Länge des von der Andruckrolle zurückgelegten Weges kann durch Biegen des Stützstreifens (B) eingestellt werden. Ein zu kleiner Weg der Andruckrolle kann durch Biegen des Stützstreifens (B) zur Andruckrolle hin vergrößert werden. Bei richtiger Einstellung beträgt der Abstand zwischen Stützstreifen (B) und Andruckfeder (E), in angedrücktem Zustand, ca. 1 mm.

2.4 Einstellen des Stoprelais

Nur nach Prüfung des Förderzuges Abs. 2.3

2.41 Prüfen

Die Prüfung wird bei einer Betriebsspannung von 4,8 V vorgenommen. Tonband einlegen und Taste „Start" drücken. Kontakte 3 und 4 der Buchse „Fernsteuerung" miteinander verbinden. Das Schnellstoprelais muß anziehen und den Bandtransport stoppen.

2.42 Einstellen (siehe Abb. 7)

Gegebenenfalls ist das Gestänge zum Stoprelais zu justieren. Dazu wird bei eingelegtem und gestartetem Band die Schraube (F) gelockert, Kontakte 3 und 4 der Buchse „Fernsteuerung" verbunden und durch Schwenken des Andruckarmes (G) ein Abstand von ca. 0,2 mm zwischen Tonwelle und Andruckrolle eingestellt. Anschließend Schraube (F) festziehen und mit Lack sichern.

2.5 Schneller Vor-Rücklauf (siehe Abb. 8)

Bei gedrückter Taste „Start" üben die Hebel (E) und (G) in Verbindung mit den Lappen (D) und (F) eine Begrenzerwirkung aus. Bei Betätigung der Taste „Vorlauf" bzw. „Rücklauf" drückt die Feder (H) bzw. (I) die Wippe (A) mit dem Friktionsrad (B) bzw. (C) gegen das Kupplungsoberteil (K) bzw. (L).

2.51 Prüfen der Wippe für Vor-Rücklauf (siehe Abb. 8) 

Die Wippe (A) mit den Friktionsrädern (B) und (C) muß in Ruhestellung waagrecht zum Chassis stehen (Prüfung mit Schublehre vornehmen). Zwischen dem Lappen (D) und dem Hebel (E) bzw. Lappen (F) und Hebel (G) muß dann ein Abstand von 0,1 mm bestehen. 

2.52 Einstellen der Wippe für Vor-Rücklauf (siehe Abb. 8) 

Die Einstellung erfolgt durch Biegen der Lappen (D) und (F). 

2.53 Prüfen des Vor-Rücklaufes (siehe Abb. 8) 

Der Reibungsgrad zwischen Kupplungsoberteil (K) bzw. (L) und Friktionsrad (B) bzw. (C) muß so groß sein, daß bei eingeschaltetem Vor- bzw. Rücklauf und Abbremsung der Kupplungsoberteile von Hand das entsprechende Friktionsrad bis zum Stillstand gebremst wird. 

2.54 Einstellen des Vor- und Rücklaufes (siehe Abb. 8 und 9) 

Die Einstellung erfolgt durch Biegen der Feder (H) für Vorlauf bzw. der Feder (I) für Rücklauf mittels Schraubenzieher im Punkt a. Die Federn können eingestellt werden, wenn die Wippe (A) nach Entfernen der Welle (M) ausgebaut und die Taste „Vorlauf" bzw. „Rücklauf" gedrückt wurde! Beim Einbau der Wippe (A) richtige Lage der Federn (H) und (1) beachten!

2.6 Bandführung

Eine Einstellung der Bandführung ist nur nach erfolgtem Austausch der Bandführungselemente erforderlich.

2.61 Prüfen

Sämtliche Bandführungselemente müssen senkrecht stehen. Das Tonband muss ohne an den Spulenflanschen zu streifen aufgewickelt werden. Es muss geradlinig (siehe Abb. 10 gestrichelte Linie) durch die Bandführung laufen. Die richtige Höhe des Tonbandes ist bei den verschiedenen Typen wie folgt zu prüfen: 

4000 Report-L 

Der Kopfspalt des Löschkopfes muß 0,4 mm über die Tonbandoberkante herausragen. 

4200 Report Stereo 

Die Kopfspalte des Löschkopfes müssen gleich weit von der Oberkante und der Unterkante des Tonbandes entfernt sein. 

4400 Report Stereo 

Die Oberkante des Kopfspaltes vom Löschkopf und die Oberkante des Tonbandes müssen auf gleicher Höhe sein. 

2.62 Einstellen (siehe Abb. 10) 

Durch Drehen der Schlitzmuttern (A) und (B) sowie der Schraube (C) können die Bandführungselemente in ihrer Höhe verstellt werden. Als Bezugspunkt für die richtige Höhe der Bandführung dient der Löschkopf.

2.7 Tonkopf 

Die Einstellung des Tonkopfes wird erforderlich, wenn der Tonkopf verstellt oder ausgetauscht worden ist. (Tonkopf nach der Montage entmagnetisieren.) 

2.71 Prüfen der Höhenverstellung 

Die Stirnfläche des Tonkopfes muß parallel zum Tonband stehen. Die verschiedenen Typen sind wie folgt zu prüfen. 

4000 Report-L 

Der Kopfspalt des Tonkopfes muß 0,3 mm über die obere Tonbandkante herausragen. Die Prüfung ist mit dem UHER-Zweispur-Mono-Justierband gemäß der dem Justierband beillegenden Anweisung vorzunehmen. 

4200 Report Stereo 

Der obere und untere Kopfspalt des Tonkopfes muß gleich weit von den Tonbandkanten entfernt sein. Die Prüfung ist mit dem UHER-Zweispur-Stereo-Justierband gemäß der dem Justierband beiliegenden Anweisung vorzunehmen.

4400 Report Stereo 

Der obere Kopfspalt des Tonkopfes muß mit der oberen Tonbandkante abschließen. Die Prüfung ist mit dem UHER-Vierspur-Justierband gemäß der dem Justierband belllegenden Anweisung vorzunehmen.

2.72 Einstellen der Höhenverstellung (siehe Abb. 10) 

Durch Drehen der Schrauben (E) kann die Höheneinstellung des Tonkopfes verändert werden. Nach der Einstellung sind die Schrauben (E) mit Lack zu sichern. 

2.73 Prüfen der Senkrechtstellung 

Der Kopfspalt des Tonkopfes muß senkrecht zu den Kanten des Tonbandes stehen. Die elektrische Prüfung der Senkrechtstellung des Kopfspaltes erfolgt mit Hilfe des UHER Justierbandes gemäß der dem Justierband beiliegenden Anweisung. 

2.74 Einstellung der Senkrechtstellung (siehe Abb. 10)

Durch Drehen der Schraube (D) kann der Tonkopf in senkrechte Lage gebracht werden. Nach der Einstellung ist die Schraube (D) mit Lack zu sichern. 

2.8 Geschwindigkeitswähler 

Auf unbedingte Sauberkeit der Gummilaufflächen des Antriebsrades sowie der Lauffläche von Motorrolle, Antriebsriemen und Schwungmasse 1st zu achten. Bei jeder Bearbeitung des Gerätes sind die Laufflächen mit einem benzingetränkten Lappen zu reinigen. 

2.81 Prüfen (siehe Abb. 11) 

Bandgeschwindigkeit 9,5 cm/s einschalten. Zwischen dem Band der Schwungmasse (A) und dem des Antriebsrades (B) muß sich ein Abstand von ca. 1,5 mm ergeben. Bei eingeschalteter Bandgeschwindigkeit und nicht gedrückter Starttaste, muß ein Abstand von ca. 0,5 mm zwischen den Laufflächen der Schwungmasse (A) und der des Antriebsrades (B) bestehen.

2.82 Einstellen (siehe Abb. 11) 

Nach Lockern der Schrauben (D) und (C) kann durch Verschieben des Montagesteges (E) der Abstand von 1,5 mm (gemäß Abs. 2.81) eingestellt werden. Anschließend sind die Schrauben festzuziehen und mit Lack zu sichern. Abschließend Entzerrerschalter (gemäß Abs. 4.8) prüfen. Durch Biegen des Lappens (F) am Steuerschieber (G) kann der Abstand von 0,5 mm zwischen den Laufflächen von Schwungmasse (A) und Antriebsrad (B) eingestellt werden.

2.9 Auswechseln des Motors, der Antriebsriemen und des Antriebsrades mit Tonwelle

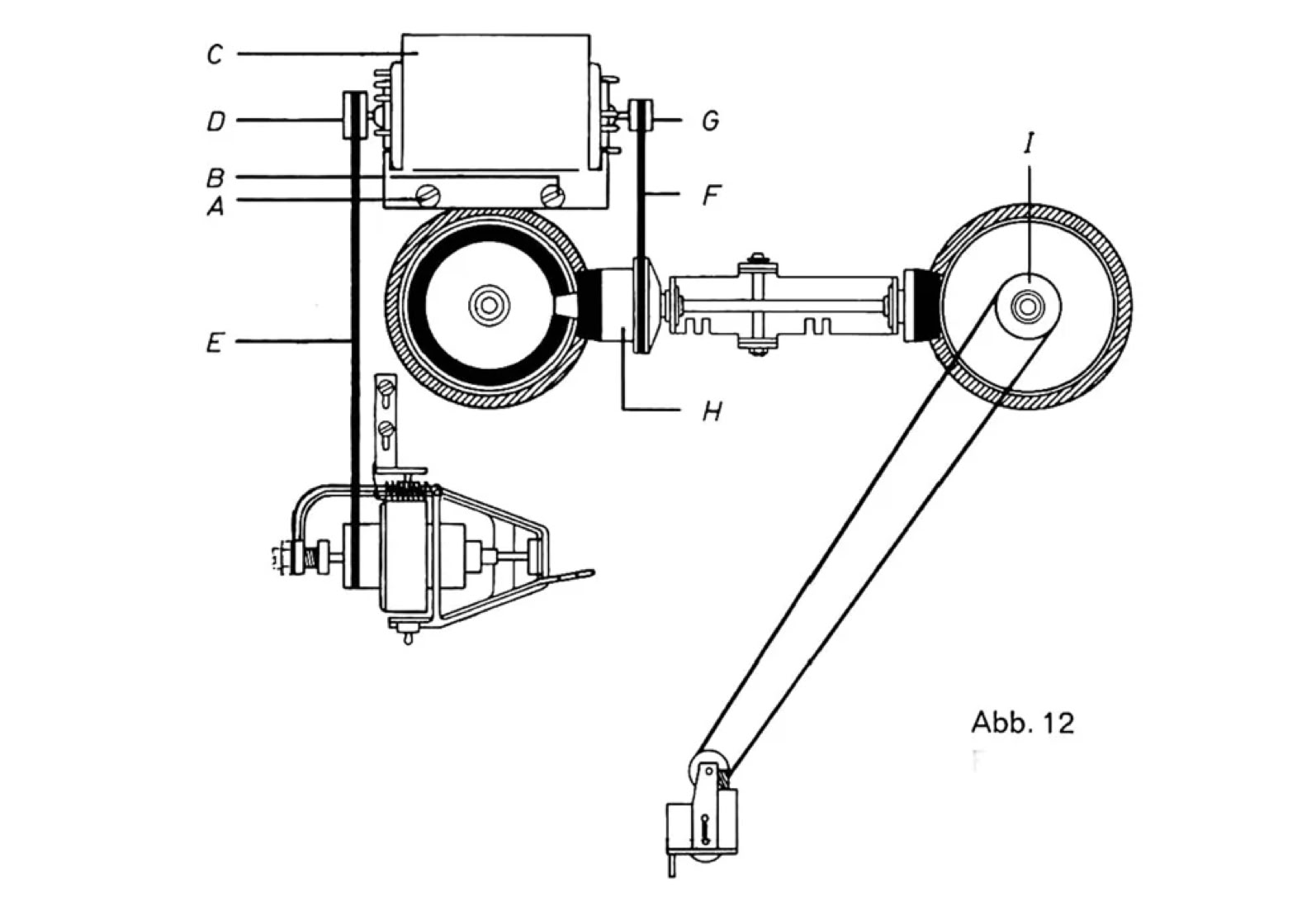
2.91 Auswechseln des Motors (siehe Abb. 12) 

Nach Entfernen der Schrauben (A) und (B) sowie der zum Motor(C) führenden Anschlussdrähte kann der Austausch vorgenommen werden. Der Motor ist so einzubauen, daß der Riemen (F) zur Umspulwippe aus der Motorrolle (G) senkrecht in die Laufrille der Umspulwippe einläuft.

2.92 Auswechseln des Riemens für den schnellen Vor- und Rücklauf (siehe Abb. 12) 

Taste „Rücklauf" drücken. Riemen (F) von der Motorrolle (G) abheben und über das Friktionsrad (H) abziehen. Der Einbau erfolgt in umgekehrter Reihenfolge. Es ist darauf zu achten, daß der Antriebsriemen beim Einbau nicht in sich verdreht wird. 

2.93 Auswechseln des Riemens zur Schwungmasse (siehe Abb. 12) 

Riemen (E) aus der Laufrille der Motorrolle (D) und der Schwungmasse heben. Beim Auflegen des neuen Riemens ist auf folgendes zu achten: Der Riemen soll nicht in sich verdreht eingelegt werden. (Falls sich der Riemen während des Betriebes jedoch verdreht, so ist er in diesem Zustand zu belassen.)

2.94 Auswechseln des Riemens zum Bandzählwerk (siehe Abb. 12) 

Riemen aus den Laufrillen des Bandzählwerkes und des Antriebsrades (I) heben. 

2.95 Auswechseln des Antriebsrades mit Tonwelle 

Das Antriebsrad kann nach Entfernen der Widerlagerschiene, auf der sich das untere Kalottenlager befindet, ausgewechselt werden. Beim Einbau ist darauf zu achten, daß das Antriebsrad frei und ohne zu klemmen in dem unteren Kalottenlager läuft. Ein Klemmen kann durch leichtes Klopfen gegen das Kalottenlager beseitigt werden. Die Spannung der Feder am oberen Kalottenlager muß gerade so groß sein, daß kein axiales Spiel auftreten kann.

3. Schmierung und Wartung 

3.1 Schmierung 

Alle wichtigen rotierenden Teile sind in dauergeschmierten Sintermetallagern gelagert. Normale Schmieröle werden von diesen Lagern nicht angenommen. Die Schmierung muß stets mit Sinterlageröl erfolgen. Eine Nachschmierung ist jedoch erfahrungsgemäß erst nach jahrelangem Betrieb erforderlich. Alle Gleit- und Reibstellen sind jeweils nach ca. 500 Betriebsstunden mit nichtverharzendem Mehrzweckfett zu schmieren. Auf jeden Fall muß ein Übermaß an Schmiermitteln sorgfältig vermieden werden, da überschüssiges Fett oder Öl auf Reibungsbeläge oder Antriebsriemen geraten kann und dort unweigerlich Betriebsstörungen verursacht. Die zu verwendenden Fette und Öle sind Im UHER-Schmiermittelsatz zusammengestellt. 

3.2 Wartung 

Absolute Sauberkeit der Tonkopfstirnflächen und Bandführungen ist von größter Wichtigkeit. Bandführungen, Tonwelle, Andruckrolle und Tonkopfstirnflächen sind nach Entfernen der Tonkopfabdeckung von etwa anhaftenden Bandschichtteilen oder Staubablagerungen sorgfältig zu reinigen. Hierzu dient ein Holzstäbchen mit darübergezogenem, alkoholgetränktem Lappen. Bei jeder Bearbeitung des Gerätes sind sowohl die Antriebsriemen als auch die Laufflächen aller rotierenden und durch Friktion getriebenen Teile des Laufwerks mit einem alkoholgetränkten Lappen zu reinigen. Alle Kontakte sind auf Sauberkeit zu kontrollieren und gegebenenfalls zu säubern.

4. Prüfen und Einstellen von Kontakten 

Für die sichere Funktion aller Schaltkontakte ist größte Sauberkeit der Kontaktflächen und genaue Einstellung der Kontakte unbedingte Voraussetzung. 

4.1 Kontakt für Motorregelung K 6 

4000 Report L bzw. K 3 4200/4400 Report Stereo Der Kontakt K 6 bzw. K 3 wird über das Gestänge für Vor- und Rücklauf betätigt. 

4.11 Prüfen 

Sind die Tasten Vor- bzw. Rücklauf gedrückt, so muß K 6 bzw. K 3 geschlossen sein. Der Abstand der geöffneten Kontaktflächen voneinander muß ca. 1 mm betragen. Der Kontakt muß bereits geschlossen sein, bevor die Rück- bzw. Vorlauffriktion erfolgt. 

4.12 Einstellen (siehe Abb. 13) 

Die Einstellung erfolgt nach Lockern der Schraube (A) und Drehen des Haltewinkels (B). Schraube (A) anschließend festziehen.

4.2 Stummkontakt (K 5) 

Der Kontakt K 5 wird über den Steuerschieber für die Aufwickelkupplung betätigt. Er entfällt bei 4200/4400 Report Stereo. 

4.21 Prüfen 

In Ruhestellung des Andruckarmes muß K 5 geschlossen sein. Bei dem langsamen Niederdrücken der Taste „Start" darf der Kontakt erst kurz vor Erreichen der Arbeltsstellung des Andruckarmes geöffnet werden. Der Abstand der geöffneten Kontaktflächen muß ca. 1 mm betragen. 

4.22 Einstellen (siehe Abb. 14) 

Die Einstellung erfolgt bei gedrückter Starttaste. Nach Lösen der Schraube (A) wird der Haltewinkel (B) so lange gedreht, bis der Abstand der geöffneten Kontaktflächen ca. 1 mm beträgt. Schraube (A) anschließend festziehen.

4.3 Ein-Ausschalter 

K 84000 Report L bzw. 

K 4 4200/4400 Report Stereo 

Der Kontakt K 8 bzw. K 4 wird über den Montagesteg für die Geschwindigkeitsumschaltung betätigt. 

4.31 Prüfen (siehe Abb. 15) 

Bandgeschwindigkeit 19 cm/s langsam einschalten. K 8 bzw. K 4 muss auf halbem Schaltweg geschlossen sein. Geschwindigkeitswähler in Stellung „Aus" von links nach rechts schieben. K 8 bzw. K 4 muß geöffnet bleiben.

4.32 Einstellen 

Der Kontakt wird erst nach Entfernen der Abdeckplatte zugänglich. Die Einstellung von K 8 bzw. K 4 erfolgt durch Biegen des Stützstreifens unter den beiden Kontaktfedern. 

4.4 Batterieschalter K 9 

4000 Report L bzw. K 5 4200/4400 Report Stereo Der Kontakt K 9 bzw. K 5 wird durch Einlegen des Akkus oder des Netz- und Ladegerätes in den Batteriekasten betätigt. 

4.41 Prüfen 

Der Kontakt K 9 bzw. K 5 muß bei eingelegtem Akku- oder Netz- und Ladegerät geschlossen, bei eingelegten Monozellen geöffnet sein. Bei Drücken von Hand (ca. 1 mm tief) muss der Kontakt schließen. 

4.42 Einstellen 

Der Kontakt wird erst nach Entfernen der Abdeckplatte zugänglich. Die Einstellung von K 9 bzw. K 5 erfolgt durch Biegen der beiden Stützstreifen unter den Kontaktfedern. 4.5 Batterie-Trennschalter K 10 4000 Report L bzw. K 6 4200/4400 Report Stereo 

4.5 Batterie-Trennschalter

K10 4000 Report L bzw.

K6 4200/4400 Report Stereo

4.51 Prüfen 

Der Kontakt K 10 bzw. K 6 muß öffnen, wenn ein Stecker mit Hülse in die Buchse „Fernsteuerung" eingeführt wird. 

4.52 Einstellen (siehe Abb. 16) 

Nach Lockern der Befestigungsschrauben für die Buchse „Lautsprecher" kann der Montagewinkel (A) mit dem Kontakt K 10 bzw. K6 so eingestellt werden, dass die Nase (B) für die Kontaktbetätigung 0,5 mm durch den in der Buchse „Fernsteuerung" vorhandenen Durchbruch ragt.

4.6 Strombegrenzungskontakt (rel. a) 

Der Relaiskontakt (rel. a) wird durch den Anker des Stoprelais betätigt. 

4.61 Prüfen 

Zu dieser Prüfung ist eine Kontrolle der Einstellung gemäß Abs. 2.3 und 2.4 erforderlich. Die Stromaufnahme des Gerätes darf bei betätigtem Stoprelais (Kontakte 3 und 4 der Buchse „Fernsteuerung" verbunden) maximal 20 mA zunehmen. Steigt die Stromaufnahme über 350 mA so schaltet der Kontakt (rel. a) die Anzugswicklung nicht in Serie mit der Haltewicklung und muß nachjustiert werden. 

4.62 Einstellen 

Der Kontakt (rel. a) muß in stromlosem Zustand des Relais geschlossen bleiben. Bei angezogenem Anker des Relais muß er geöffnet sein. Er darf jedoch erst öffnen, wenn der Anker zirka zwei Drittel seines Weges zurückgelegt hat, da sonst die Kraft der Haltewicklung noch nicht ausreicht. Die Einstellung erfolgt durch Biegen des Stützstreifens unter den Kontaktfedern. Der Abstand der Kontaktflächen voneinander soll in geöffnetem Zustand ca. 0,1 mm betragen. 

4.7 Kontaktschieber für Aufnahme und Wiedergabe 

4.71 Prüfen 

Die Kontaktfedern der Schiebeschalter müssen in Ruhestellung (Wiedergabe) jeweils genau über zwei Messerkontakten liegen. Sie dürfen keine Zwischenstellung einnehmen, da sonst die Gefahr besteht, daß sie mit einem dritten Messerkontakt in Berührung kommen. Bei den Stereogeräten 4200/4400 arbeiten die Schiebeschalter gegensinnig. Vom Mitnehmer aus gezählt muß bei Kanal I die erste Kontaktfeder mit dem ersten Messerkontakt abschließen, während bei Kanal II der erste Messerkontakt freibleiben muß (Stellung Wiedergabe). 

4.72 Einstellen 

Durch Lockern der Schraube und Verschieben des Mitnehmerwinkels auf dem Schiebeschalter kann die richtige Einstellung vorgenommen werden. Anschließend ist die Schraube festzuziehen und mit Lack zu sichern.

4.8 Kontaktschieber für Entzerrumschaltung

4.81 Prüfen

Bandgeschwindigkeit 19 cm/s einschalten und anschließend auf Bandgeschwindigkeit 2,4 cm/s umschalten. In beiden Geschwindigkeitsstufen müssen die Kontaktfedern der Schiebeschalter genau über den entsprechenden Messerkontakten stehen.

4.82 Einstellen

Durch Lockern der Schraube und durch Verschieben des Mitnehmerwinkels auf dem Schiebeschalter kann die richtige Einstellung vorgenommen werden. Anschließend ist die Schraube festzuziehen und mit Lack zu sichern.

5. Elektrischer Teil

Bei den elektrischen Messungen ist besonders auf die Polung der Stecker von Meß- und Anschlußkabeln zu achten. Der masseführende Stift darf nur jeweils an den +Pol der Batterie führen und niemals mit dem Gehäuse verbunden sein. Voraussetzung für alle Messungen und Einstellungen ist, daß sie bei einer stabilen Betriebsspannung von 6 V vorgenommen werden.

Bei Arbeiten an den Transistoren sind die von den Transistorenherstellern herausgegebenen Vorschriften zu beachten.

5.1 Elektrische Einstellungen und Messwerte

Das beiliegende Schaltbild enthält auf seiner Rückseite die entsprechenden Reglereinstellungen und Messwerte sowie die Toleranzfelder der jeweiligen Sollkurven.

Die Messungen Punkt 5.3 Gesamt-Frequenzgang, 5.4 Aufnahmeentzerrung, 5.5 Wiedergabeentzerrung, 5.6 Messung der Störspannung müssen für beide Kanäle ausgeführt werden.

Kanal I:


Eingang 1 + 2 Radio/Phono 

Ausgang 3 + 2

Buchse Radio/Phono

Kanal II:

Eingang 4 +2 Radio/Phono

Ausgang Buchse Lautsprecher 

siehe Schaltbildrückseite Abs. 3

5.2 Gleichlauf

Die Messung erfolgt mit Tonhöhenschwankungsmesser

unbewertet Sollwert ±0,2 % (19,05 m/s) 

bewertet Sollwert ±0,15 % (19,05 m/s)

Zur Messung ist unbedingt ein einwandfreies Tonband zu verwenden.

5.3 Messung des Gesamt-Frequenzganges

Vor Beginn der Messung sind folgende Punkte besonders zu beachten:

1. Tonkopf entmagnetisieren.

2. Aussteuerungsanzeige prüfen (siehe Reglereinstellung auf der Schaltbildrückseite).

3. Messung bei allen Bandgeschwindigkeiten unter Verwendung von UHER-Testband durchführen.

4. Tonband einmal vor- und zurückspulen.

5. Stabile Betriebsspannung von 6 V beachten!

Zur Festlegung des Messpegels von 20 dB unter Vollaussteuerung werden zunächst 1000 Hz mit zirka 10 mV über die Kontakte 1 und 2 (2 = Masse) der Buchse „Radio/Phono"

eingespeist. Der Aussteuerungsregler wird nun so weit aufgedreht, bis das Anzeigeinstrument Vollaussteuerung zeigt. Danach Ausgangsspannung des Tongenerators um 20 dB verringern (das ist ein Zehntel der für Vollaussteuerung erforderlichen Spannung) und die nachfolgenden Prüffrequenzen aufnehmen.

19,0 cm/s: 

1000 Hz — 40 Hz — 63 Hz

80 Hz — 100 Hz — 125 Hz

160 Hz — 200 Hz — 250 Hz

315 Hz — 400 Hz — 500 Hz

630 Hz — 800 Hz — 1000 Hz

1250 Hz — 1600 Hz — 2000 Hz

2500 Hz — 3150 Hz — 4000 Hz

5000 Hz — 6300 Hz — 8000 Hz

10 000 Hz—12 500 Hz—

16 000 Hz —20 000 Hz —

1000 Hz.

9,5 cm/s: 

1000 Hz — 40 Hz — 63 Hz

80 Hz — 100 Hz — 125 Hz

160 Hz — 200 Hz — 250 Hz

315 Hz — 400 Hz — 500 Hz

630 Hz — 800 Hz — 1000 Hz

1250 Hz — 1600 Hz — 2000 Hz

2500 Hz — 3150 Hz — 4000 Hz

5000 Hz — 6300 Hz — 8000 Hz

10 000 Hz— 12 500 Hz —

16 000 Hz —1000 Hz.

4,7 cm/s: 

1000 Hz — 40 Hz — 63 Hz —

80 Hz — 100 Hz — 125 Hz —

160 Hz — 200 Hz — 250 Hz —

315 Hz — 400 Hz — 500 Hz —

630 Hz — 800 Hz — 1000 Hz —

1250 Hz — 1600 Hz — 2000 Hz —

2500 Hz — 3150 Hz — 4000 Hz —

5000 Hz — 6300 Hz — 8000 Hz —

1000 Hz.

2,4 cm/s: 

1000 Hz — 40 Hz — 63 Hz —

80 Hz — 100 Hz — 125 Hz —

160 Hz — 200 Hz — 250 Hz —

315 Hz — 400 Hz — 500 Hz —

630 Hz — 800 Hz — 1000 Hz —

1250 Hz — 1600 Hz — 2000 Hz —

2500 Hz — 3150 Hz — 4000 Hz —

4500 Hz— 1000 Hz

An die Kontakte 3 und 2 (2 = Masse) der Buchse „Radio/Phono" wird ein Voltmeter angeschlossen. Die aufgenommenen Prüffrequenzen werden wiedergegeben. Die Spannungswerte der einzelnen Prüffrequenzen sind abzulesen.

5.4 Messung der Aufnahmeentzerrung 

Messung bei allen Bandgeschwindigkeiten vornehmen: 

1. Tasten „Aufnahme" und „Start" drücken (Tonband ist nicht erforderlich). 

2. NF-Generator an die Kontakte 1 und 2 (2 = Masse) der Buchse „Radio/Phono" anschließen und 1000 Hz/10 mV einspeisen. 

3. NF-Voltmeter an die Kontakte 2 der Buchse „Zusatzgeräte" und 2 (2 = Masse) der Buchse „Radio/Phono" anschließen. 

4. Aussteuerungsregler auf Vollaussteuerung einstellen und Spannung am NF-Voltmeter ablesen. Danach Ausgangsspannung des NF-Generators verringern, bis das Voltmeter 20 dB weniger anzeigt. 

5. Die den jeweiligen Bandgeschwindigkeiten entsprechenden Prüffrequenzen (siehe hierzu Abs. 5.3) einspeisen und Ausgangsspannung mit den Sollwerten auf der Rückseite des Schaltbildes vergleichen. Zulässige Abweichung von den Sollwerten ±2 dB. Bei größeren Abweichungen sind zunächst die Betriebsspannungen des Verstärkers, die entsprechenden Bauelemente sowie die Umschaltkontakte des Entzerrernetzwerkes zu prüfen. 

5.5 Messung der Wiedergabeentzerrung 

Messung bei allen Bandgeschwindigkeiten vornehmen: 

1. Ankopplungswiderstand von 10 Ohm in die zum +Pol führende Leitung des Tonkopfes einschalten. 

2. NF-Generator gemäß Abb. 17 anschließen. 

3. Gerät auf Wiedergabe schalten (Tonband ist nicht erforderlich).

4. 1000 Hz einspeisen und Ausgangsspannung des NF-Generators so einregeln, daß das an die Kontakte 3 und 2 (2 = Masse) der Buchse „Radio/Phono" angeschlossene NF-Voltmeter ca. 1,0 V anzeigt. Ausgangsspannung des NF-Generators dann nicht mehr verändern.

Prüffrequenzen vom NF-Generator gemäß Aufstellung in Abs. 5.3 einspeisen. Ausgangsspannungen am NF-Voltmeter ablesen und mit den Sollwerten auf der Rückseite des Schaltbildes vergleichen. Zulässige Abweichung von den Sollwerten ±2 dB. Größere Abweichungen der Messergebnisse lassen auf fehlerhafte Schalterelemente im Entzerrernetzwerk oder auf Kontaktfehler am Entzerrerumschalter schließen. 

5.6 Messung der Störspannung

Die Ermittlung z. B. des Fremdspannungsabstandes nach DIN 45405 setzt die Anwendung von Messgeräten mit speziellen Eigenschaften voraus. Da derartige Messgeräte in den meisten Werkstätten nicht vorhanden sind, wird die nachfolgend beschriebene Messung empfohlen:

NF-Millivoltmeter an die Kontakte 3 und 2 (2 = Masse) der Buchse „Radio/Phono" anschließen. UHER-Testband auf dem Gerät vollständig löschen, Regler „Aussteuerung" muß bis zum linken Anschlag gedreht werden und anschließend wiedergeben. Die dabei vom Millivoltmeter angezeigte Spannung darf max. 3 mV betragen.