Tonbandservice

Ein Portal für die Reparatur und Wartung von 

Geräten der Reihe UHER Report 4000 - 4400 

und UHER Report Monitor 4000 - 4400

Service Manual Report Monitor 4000/4200/4400

1.   Funktionsbeschreibung 

1.1 Laufwerk (siehe Bild 1) 

Der elektronisch geregelte Motor (A) treibt über den Riemen (B) die Schwungmasse (C) an. Die Schwungmasse ist entsprechend der Bandgeschwindigkeit mit vier Stufen versehen und schwenkbar gelagert. Sie dreht sich bei allen Bandgeschwindigkeiten gleich schnell. 

Beim Drücken der Taste »START« wird Friktion zwischen der Schwungmasse (C) und dem Antriebsrad (D) hergestellt. Dadurch erfolgt der Antrieb der Tonwelle (E), die gleichzeitig die Achse des Antriebsrades (D) darstellt. Die Wahl der Bandgeschwindigkeit erfolgt durch Änderung des Übersetzungsverhältnisses zwischen Schwungmasse (C) und Antriebsrad (D). Dabei wird gleichzeitig über eine Nocke die der jeweiligen Bandgeschwindigkeit entspre­chenden Entzerrung eingeschaltet. Über den Riemen (F) werden die Friktionsräder (G und H), die durch die Welle (I) miteinander verbunden sind, angetrieben. Diese Friktionsräder sind mit einem kegelförmig geschliffenen Gummibelag versehen. 

Die Kupplung (K) besteht aus dem Antriebsrad (L), einer Kupplungsscheibe mit Filzbelag und dem Kupplungsoberteil (M). In Stellung »START« gibt ein Schieber das zum Kupplungsoberteil (M) gedrückte Antriebsrad (L) frei, und die beiden Federn drücken das Antriebsrad gegen den kleinen Kegel des Friktionsrades (G). Die Kupplung (K) wird transportiert. 

Die Welle (!) mit den Friktionsrädern (G und H} ist in der Wippe (N) gelagert. Die Wippe wird über ein Gestänge betätigt und bringt die Friktionsräder mit den Kupplungs­oberteilen in Friktion. Dadurch werden der schnelle Vorlauf und Rücklauf in Tätigkeit gesetzt. Die Kupplungen sind als Reibungskupplungen ausgeführt. Damit ist das Mitnahme­ moment nahezu über die gesamte Bandlänge konstant. Die Kupplungen arbeiten lageunabhängig und enthalten eine Arretierungsvorrichtung, mit der die Bandspulen gegen ein Herabfallen gesichert sind. Die Bremsung des Kupplungsoberteiles (M) erfolgt über die Klemmrolle (O), die in angedrücktem Zustand zwischen das Kupplungsoberteil und die Zunge (P) geklemmt wird. 

Am Kupplungsoberteil (Q) wird abhängig vom Bandwickel- Durchmesser die Bremsung geregelt und damit der Bandzug konstant gehalten. Dazu dient die Seilzugbremse (R), die ihre Regelinformation von der Führungsrolle (S) über den reibungsarm gelagerten Winkelhebe! (T) bezieht. Mit der Feder (U) wird die Grundbremsung der Kupplung (G) eingestellt. Diese Grundbremsung ist nicht nur in Stellung »Wiedergabe« wirksam, sondern auch in Stellung »Schneller Vorlauf« und sorgt in dieser Betriebsart für einen besonders gleichmäßigen Bandwickel der aufwickelten Kupplung. 

Das Antriebsrad (V) treibt über den Riemen (W) das Zählwerk (X) an.

1.2  Das Prinzip des Motors 

Der Motor besitzt drei feststehende Ankerwicklungen und einen diametral magnetisierten Dauermagneten als Läufer. Die Ankerwicklungen werden über eine mehrstufige Transistorschaltung gespeist. Während des Anlaufs wird die Schaltung über einen Anlaufverteiler in Abhängigkeit von der Rotor-Stellung gesteuert. Durch Fliehkrafteinwirkung wird diese Steuerung lange vor Erreichen der Solldrehzahl des Motors unterbrochen. Nachdem die Solldrehzahl erreicht ist, wird die durch den Permanent- Magnetrotor in den Ankerwicklungen erzeugten Wechsel­spannungen zur Steuerung derTransistorschaltung verwendet. 

Durch Gleichrichtung der Wechselspannungen wird die zur elektronischen Drehzahlregelung notwendige Information gewonnen. 

1.3  Aufbau der Elektronik - 4000 Report Monitor 

Mit Ausnahme einiger einzelner Bauteile befindet sich die Mehrzahl der elektrischen Bauteile auf den Leiterplatten. Im Stromlaufplan (s. Kap. 5) sind grundsätzlich alle auf einer Leiterplatte vereinten Bauelemente wie Widerstände, Kondensatoren und Dioden fortlaufend nummeriert. 

Der vier- bzw. fünfstufige Verstärker zur Umschaltung von Wiedergabe auf Aufnahme ist mit Silizium-Transistoren bestückt. Der Verstärker trägt die Leiterplatten-Kennziffer 100. Auf dieser Leiterplatte befindet sich außerdem der HF-Generator, der Anzeigeverstärker und der variable Teil für die verschiedenen Bandgeschwindigkeiten der nach der TB-Norm aufgelösten Entzerrung. 

Die Aussteuerungsautomatik befindet sich auf einer separaten Leiterplatte mit der Kennziffer 800. Nach Lösen der Befestigungsschraube, die den Verstärker an der Widerlagerschiene für das Antriebsrad festhält, kann die ganze Einheit ausgeschwenkt werden und bleibt dabei voll funktionsfähig. 

Auf einer dritten Leiterplatte mit der Kennziffer 300 sind die für die Motorregelung benötigten Bauteile zusammengefasst. Die zur Siebung und Stabilisierung der Stromversor­gung dienenden Bauteile befinden sich auf einer vierten Leiterplatte mit der Kennziffer 400.

1.4. Aufbau der Elektronik - 4200 und 4400 Report Monitor 

Die beiden Wiedergabe-Verstärkerzüge, aufgebaut mit Kopfverstärker, Monitor-Verstärker und Anzeige-Entzerrer, befinden sich auf der Grundplatte mit der Kennziffer 100. Außerdem ist auf der Grundplatte der HF-Generator angebracht. 

Zwei weitere Leiterplatten sind durch Direktsteckung mit der Grundplatte verbunden: Die Leiterplatte mit Kennziffer 1100, die mit den Bandgeschwindigkeiten umschaltbar nach der in NARTB-Norm aufgelösten Wiedergabe- Entzerrung, sowie die Leiterplatte mit Kennziffer 1000 für die umschaltbare Aufnahme-Entzerrung. Nach Lösen der Befestigungsschraube auf der Widerlagerschiene für das Antriebsrad, kann die ganze Einheit ausgeschwenkt werden und bleibt dabei voll funktionsfähig. 

Die beiden Endstufen befinden sich auf der Leiterplatte mit der Kennziffer 900 und der Stereo-Signaleingangsverstär­ker auf der Leiterplatte mit der Kennziffer 1200. Auch beim 4200 und 4400 Report Monitor ist die Motorsteuerung auf einer Platte mit der Kennziffer 300 und die zur Siebung und Stabilisierung der Versorgungsspannung dienenden Bauteile auf einer Leiterplatte mit der Kennziffer 400 zusammengefasst.

2. Allgemeine Zerlegungshinweise

2.1 Demontage und Montage von der Unterseite

Die Zerlegung und der Zusammenbau des Gerätes erfolgt analog der nebenstehenden Zeichnung (von oben nach unten). Detaillierte Anleitungen für Mess-, Prüf- und Einstellarbeiten finden Sie in den Kapiteln 3. und 4.

Beachten Sie bitte dabei:

2.1.1 Gehäuse-Bodendeckel

Die große Arretierschraube wird durch jeweils 1/4 Drehung gelöst bzw. befestigt.







2.1.2 Leiterplatte, Batteriekasten

Die Leiterplatte (Verstärker) kann nach Lösen der Befestigungschraube ausgeschwenkt werden. Sie bleibt dabei für Mess- und Prüfarbeiten voll funktionsfähig.

Elektrische Einstellung, Messwerte: Kap. 4,1 und 4.2.








2.1.3 Antriebssystem und Motor

Prüfung und Einstellung der Kupplungen: Kap. 3.1.1.

Auswechseln des Motors: Kap. 3.2.1.

Auswechseln der Riemen: Kap. 3.2.2 bis 3.2.4.

Auswechseln der Kupplungen: Kap. 3.2.5.

Auswechseln des Antriebsrades: Kap. 3.2.6.






2.1.4 Gehäuse und Schalter

Wartungsarbeiten: Kap. 3.3.

Prüfung und Einstellung der Schalter: Kap. 4.1.

Prüfung der Kontakte: Kap. 4.1







2.1.5 Ersatzteile

Falls Teile des Gerätes erneuert werden müssen, ist eine detaillierte Ersatzteilliste in Kap. 7 zu finden. Die Preise sind aus der jeweils gültigen Preisliste zu ersehen.

Bitte beachten: Bei Bestellung von Ersatzteilen ist immer die Nummer des Tonbandgerätes anzugeben.

2.2 Demontage und Montage von der Oberseite

Die Zerlegung und der Zusammenbau des Gerätes erfolgt analog der nebenstehenden Zeichnung (von oben nach unten). Detaillierte Anleitungen für Mess-, Prüf- und Einstellarbeiten finden Sie in den Kapiteln 3. und 4.

Beachten Sie bitte dabei:

2.2.1 Bandführung

Prüfung und Einstellung des schnellen Vor-/Rücklaufs: Kap. 2.1.4.

Prüfung und Einstellung der Bandführung: Kap. 2.1.5.




2.2.2  Kupplungen

Prüfung und Einstellung der Kupplungen: Kap. 3.3.1.

Auswechseln der Riemen: Kap. 3.3.3 bis 3.2.4.

Auswechseln der Kupplungen: Kap. 3.2.5




2.2.3 Steuerung und Tonkopf

Prüfung und Einstellung der Andruckrolle: Kap. 3.1.2.

Prüfung und Einstellung des Tonkopfes: Kap. 3.1,6.

Prüfung und Einstellung des Geschwindigkeitswählers: Kap. 3.1.6.

Kontakte und Relais: Kap. 4.1.

Elektrische Einstellung und Messwerte: Kap. 4.2.1.

Messung des Gleichlaufs: Kap. 4.2.2.

Messung des Gesamt-Frequenzganges: Kap. 4.2.3.




2.2.4 Drucktastenaggregat

Prüfung und Einstellung der Kontakte: Kap. 4.1.




2.2.5 Gehäuse und Schalter

Wartungsarbeiten: Kap. 3.3.

Prüfung und Einstellung der Schalter: Kap. 4.1.

Prüfung der Kontakte: Kap. 4.1.




2.2.6 Ersatzteile

Falls Teile des Gerätes erneuert werden müssen, ist eine detaillierte Ersatzteilliste in Kap. 7 zu finden. Die Preise sind aus der jeweils gültigen Preisliste zu ersehen.

Bitte beachten: Bei Bestellung von Ersatzteilen ist immer die Nummer des Tonband-Gerätes anzugeben.

3. Mechanische Baugruppen

3.1 Prüfung und Einsteilung

3.1.1 Kupplungen

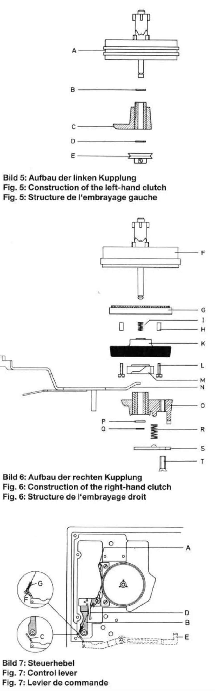
3.1.1.1 Aufbau der linken Kupplung

(siehe Bild 5)

A = Kupplungsoberteil mit Spulenarretierung und Seilnut

B = Unterlegscheibe (Anzahl nach Bedarf) 

C = Sintermetall-Lager

D = Zwischenscheibe

E = Antriebsrad für Zählwerk-Riemen

3.1.1.2 Aufbau der rechten Kupplung

(siehe Bild 6)

F = Kupplungsoberteil mit Spulenarretierung 

G =Kupplungsscheibe mit Filzbelag

H = Abstandshülsen

I = Druckfeder

K = Antriebsteller mit Gummibelag 

L = Verbindungsschrauben

M = Kupplungshebering

N = Steuerschieber

O = Sintermetall-Lager

P = Unterlegscheibe (Anzahl nach Bedarf) 

Q = Wellensicherung

R = Druckfeder

S = Justierplatte

T = Justierschraube

3.1.1.3 Prüfung und Einsteilung der linken Kupplung

(siehe Bild 7)

Voraussetzung für die einwandfreie Funktion der linken Kupplung ist die Grundeinstellung des Steuerhebels (B). In Stellung »STOPP« wird der Einhängelappen (A) so gebogen, daß der Steuerhebel (B) parallel zur Gehäusekante steht. Der Justierlappen (C) des Betätigungshebels (E) der Bandzugregelung darf in Stellung »START« und »>VORLAUF«< nicht am Steuerhebel (B) anliegen. In Stellung »RÜCKLAUF« muß der Steuerhebel (B) am Anschlag (D) der Steuerhebel-Lagerung angedrückt werden.

Die Prüfung der linken Kupplung erfolgt durch Messen des Abwickelzuges. Auf die linke Kupplung wird eine 13-cm-Spule (Kerndurchmesser 45 mm) aufgelegt, die mit ca. 50 cm Tonband bewickelt ist. Das Tonband wird über die Führungsrolle der Bandzugregelung geführt und in Stellung »STOPP« In Pfeilrichtung (siehe Bild 9) mit einer Federwaage abgezogen.

Sollwert: 35 p bis 45 p.

Wird der Sollwert nicht erreicht, kann eine Einstellung durch Biegen des Einhängelappens (F) für die Feder (G) (siehe Bild 7) vorgenommen werden.

3.1.1.4 Prüfung und Einstellung der rechten Kupplung

(siehe Bild 8)

Vor der Prüfung sind die Laufflächen des Antriebstellers (A) und des kegelförmigen Friktionsrades (B) zu reinigen. Das Gerät wird mit der Bandgeschwindigkeit 19 cm/s in Betrieb gesetzt und dieTast »START« gedrückt. Anschlie- ßend ist durch Festhalten des Kupplungsoberteiles zu prüfen, ob die Friktion zwischen Antriebsteller (A) und kegelförmigem Friktionsrad (B) stark genug ist. Der Antriebsteller (A) muß beim Festhalten des Kupplungs- oberteiles (0) weiterlaufen. Er darf nicht stehenbleiben.

Vor einer eventuellen Einstellung ist zunächst noch die Lage der Wippe für Vor- und Rücklauf (siehe Kap. 3.1.4) zu untersuchen.

Bei gedrückter Starttaste wird über den Steuerschieber (D) und den Kupplungshebelring (E) der ursprünglich zurückgedrückte Antriebsteller (A) freigegeben und durch die Kupplungsfedern gegen den kleinen Kegel des Friktionsrades (B) gedrückt. Durch Biegen der Nase (F) des Steuerschiebers (D) in Pfeilrichtung kann die Friktion zwischen Antriebsteller (A) und dem Kegel des Friktionsrades (B) eingestellt werden. Nach Lösen der Taste »START« und Drücken der Taste »VORLAUF« darf keine Friktion zwischen Antriebsteller (A) und dem Kegel des Friktionsrades (B) bestehen. Es muß mindestens ein Abstand von 0,5 mm vorhanden sein. Die Einstellung der rechten Kupplung ist dann einwandfrei, wenn sie sich bereits bei zwei Drittel der gedrückten Starttaste dreht. Anschließend ist der Startkontakt K4 gemäß Kap. 4.1.3 einzustellen.

Die Prüfung der rechten Kupplung erfolgt durch Messen des Abwickelzuges. Auf die rechte Kupplung wird eine 13-cm-Bandspule (Kerndurchmesser 45 mm) aufgelegt, die mit ca. 50 cm Tonband bewickelt ist. In das freie Bandende wird eine Federwaage eingehängt. Das Gerät einschalten und die Taste »START« drücken; Federwaage festhalten.

Durch das Festhalten der Federwaage wird die Kupplung abgebremst und kommt zum Stillstand. Jetzt wird die Federwaage langsam in Richtung des Bandlaufes bewegt, bis sich die Kupplung wieder dreht (siehe Bild 9). In diesem Zustand zeigt die Federwaage den Abwickelzug an.

Sollwert: 20 p bis 40 p.

Wird der Sollwert nicht erreicht, ist zunächst zu prüfen, ob der Filzring auf den Kupplungsscheiben abgenutzt oder verschmutzt ist. Desgleichen sind die Laufflächen der Kupplungsoberteile zu reinigen. Eine Justiermöglichkeit für die Friktion zwischen Kupplungsscheibe und Kupplungsoberteil der rechten Kupplung ist nicht vorgesehen und auch nicht notwendig.

Falls der Sollwert des Aufwickelzuges nicht erreicht wird, kann die Ursache nur in einer Verschmutzung oder Abnutzung der Kupplungsteile liegen.

3.1.1.5 Prüfung und Einsteilung der rechten Bremse

(siehe Bild 10)

Die Bremse arbeitet wartungsfrei. Eine Einstellung ist nur nach Ersatz von Teilen erforderlich.

Zur Prüfung das Gerät ausschalten und eine Bandspule (Kerndurchmesser 45 mm) auflegen, die mit ca. 50 cm Tonband bewickelt ist. Durch Abziehen in Pfeilrichtung ist zu prüfen, ob das Kupplungsoberteil merklich abgebremst wird (siehe Bild 11).

Zur Einstellung der Bremse ist folgendes zu beachten:

Der Bremshebelarm (A) darf in Stellung »STOP« nicht am Schieber (B) anliegen. In Stellung »VORLAUF« und »RÜCKLAUF« muß mittels des Bremshebelarmes (A) ein Abstand von ca. 2 mm zwischen Bremsrolle (C) und Kupplungsoberteil (D) eingestellt werden. In Stellung »START« wird über den Hebel (E) der Schieber (B) betätigt, der wiederum die Bremsrolle abhebt.

Die Einstellung erfolgt durch Biegen des Hebels (E) und ist so vorzunehmen, daß bei einem langsamen Drücken der Taste »START«

zuerst die Bremsrolle vom Kupplungsoberteil abhebt,

anschließend die Andruckrolle das Band gegen die Tonwelle drückt.




3.1.2 Druck der Andruckrolle an die Tonwelle

(siehe Bild 12)

Zur Messung des Druckes der Andruckrolle an die Ton- welle die Taste »START« drücken. Eine Federwaage am Lager der Andruckrolle einhängen und solange abziehen, bis keine Friktion mehr besteht. Die Federwaage langsam zurückbewegen, bis die Andruckrolle sich gerade zu drehen beginnt und das Tonband transportiert. Den auf der Federwaage angezeigten Wert ermitteln.

Sollwert: 450 p bis 600 p.

Die Einstellung des Sollwertes erfolgt durch Verschieben des Stützstreifens (C) nach Lösen der Schrauben (D): Verschieben nach links (-) = Andruck vermindert, Verschieben nach rechts ( + ) = Andruck erhöht.




3.1.2.1 Prüfung und Einstellung des Arbeitsweges der Andruckrolle (siehe Bild 12)

Die Prüfung wird ohne eingelegtes Tonband durchgeführt. Bei einem langsamen Drücken der Taste »START« muß die rechte Kupplung bereits angetrieben werden, bevor sich die Andruckrolle dreht (siehe auch Kap. 3.1.4). Das ist nur dann der Fall, wenn der Arbeitsweg der Andruckrolle groß genug ist.

Die Einstellung der Länge des von der Andruckrolle zurückgelegten Weges kann durch Biegen des Stützstreifens (C) vorgenommen werden. Ein zu kleiner Weg der Andruckrolle wird durch Biegen des Stützstreifens (C) zur Andruckrolle hin vergrößert. Bei richtiger Einstellung beträgt der Abstand zwischen Stützstreifen (C) und Andruckfeder (A) ca. 1 mm (in angedrücktem Zustand).

3.1.3 Prüfung und Einstellung des Stopp-Relais

(siehe Bild 12)

Diesen Test nur nach Prüfung des Druckes der Andruckrolle an die Tonwelle durchführen (siehe Kap. 3.1.2).

Zur Prüfung eine Betriebsspannung von 5 Volt an die Kontaktnippel (+) und (-) des Netzteiles einspeisen. Tonband einlegen und die Taste »START« drücken. Die Kontakte 4 und 6 der Buchse »Fernsteuerung A <« miteinander verbinden. Das Schnellstopp-Relais muß anziehen und den Bandtransport stoppen.

Wird eine Einstellung erforderlich, ist das Gestänge zum Stopp-Relais zu justieren. Dazu wird bei eingelegtem und gestartetem Band die Schraube (B) gelockert, die Kontakte 4 und 6 der Buchse »Fernsteuerung Square Caret Up« verbunden und durch Schwenken des Andruckarmes (E) ein Abstand von ca. 0,2 mm zwischen Tonwelle und Andruckrolle eingestellt. Anschließend die Schraube (B) festziehen und mit Lack sichern.



3.1.4 Schneller Vor-/Rücklauf

(siehe Bild 13)

Bei gedrückter Taste »START« üben die Hebel (E) und (G) in Verbindung mit dem Lappen (D) und (F) eine Begrenzerwirkung aus. Bei Betätigung der Taste »VORLAUF« bzw. »RÜCKLAUF« drückt die Feder (H) bzw. (I) die Wippe (A) mit dem Friktionsrad (B) bzw. (C) gegen das Kupplungsoberteil (K) bzw. (L).



3.1.4.1 Prüfung und Einstellung der Wippe für Vor-/Rücklauf 

siehe Bild 13)

Die Wippe (A) mit den Friktionsrädern (B) und (C) muß in Ruhestellung waagerecht zum Geräte-Gehäuse stehen (Prüfung mit Schublehre vornehmen). Zwischen dem Lappen (D) und dem Hebel (E) bzw. Lappen (F) und Hebel (G) muß dann ein Abstand von 0,1 mm bestehen. Die Einstellung erfolgt durch Biegen der Lappen (D) und (F).



3.1.4.2 Prüfung und Einstellung des Vor-/Rücklaufes

(siehe Bild 13)

Bei der Prüfung muß der Reibungsgrad zwischen Kupplungsoberteil (K) bzw. (L) und Friktionsrad (B) bzw. (C) so groß sein, daß bei eingeschaltetem Vor- bzw. Rücklauf durch Abbremsung der Kupplungsoberteile von Hand das entsprechende Friktionsrad bis zum Stillstand gebremst wird.

Die Einstellung erfolgt durch Biegen des Stützstreifens für die Feder (H / Vorlauf) bzw. die Feder (I / Rücklauf) mittels Schraubendreher in den Punkten „a" (siehe Bild 14).

Die Federn können eingestellt werden, wenn die Wippe (A) nach entfernen der Welle (M) ausgebaut und die Taste »VORLAUF« bzw. »RÜCKLAUF« gedrückt wurde. Beim Einbau der Wippe (A) die richtige Lage der Federn (H) und (I) beachten!




3.1.5 Bandführung

Eine Einstellung der Bandführung ist nur nach erfolgtem Austausch der Bandführungselemente erforderlich.

3.1.5.1 Prüfung und Einstellung der Bandführung

(siehe Bild 15)

Sämtliche Bandführungselemente müssen senkrecht stehen. Das Tonband muß aufgewickelt werden, ohne an die Spulenflanschen zu streifen. Das Band muß geradlinig (siehe Bild 15, gestrichelte Linie) durch die Bandführung laufen. Die richtige Höhe des Tonbandes ist bei den verschiedenen Gerätetypen wie folgt zu prüfen:

4000/4200 Report Monitor

Die Kopfspalten des Löschkopfes müssen gleich weit von der Oberkante und der Unterkante des Tonbandes entfernt sein.

4400 Report Monitor

Die Oberkante des Kopfspaltes vom Löschkopf und die Oberkante des Tonbandes müssen auf gleicher Höhe sein.

3.1.6 Tonkopf

Die Einstellung des Tonkopfes wird erforderlich, wenn der Tonkopf verstellt oder ausgewechselt worden ist (Tonkopf nach der Montage entmagnetisieren).

3.1.6.1 Prüfung und Einstellung der Höhenverstellung

(siehe Bild 15)

Die Stirnfläche des Tonkopfes muß parallel zum Tonband stehen. Die verschiedenen Geräte-Typen sind wie folgt zu prüfen:

4000 / 4200 Report Monitor

Der obere und untere Kopfspalt des Löschkopfes muß gleich weit von den Tonbandkanten entfernt sein. Die Prüfung ist mit dem UHER-Zweispur-Stereo-Justierband gemäß der Anweisung auf dem Justierband vorzunehmen.

4400 Report Monitor

Der obere Kopfspalt des Tonkopfes muß mit der oberen Tonbandkante abschließen. Die Prüfung ist mit dem UHER-Vierspur-Justierband gemäß der Anweisung auf dem Justierband vorzunehmen.

Die Höheneinstellung des Aufnahmekopfes kann durch Drehen der Schraube (A) und die Einstellung des Wiedergabekopfes durch Drehen der Schraube (B) erfolgen (siehe Bild 16).

3.1.6.2 Prüfung und Einstellung der Senkrechtstellung

(siehe Bild 15)

Der Kopfspalt des Tonkopfes muß senkrecht zu den Kanten des Tonbandes stehen. Die elektrische Prüfung der Senkrechtstellung des Kopfspaltes erfolgt mit Hilfe des UHER-Justierbandes gemäß der Anweisung auf dem Justierband.

Die Einstellung der Tonköpfe in die senkrechte Lage kann durch Drehen der Justierschraube (C) für den Aufnahme- kopf bzw. der Schraube (D) für den Wiedergabekopf erfolgen 

(siehe Bild 16).

Einstellhinweise siehe Kap. 4.2.

Es ist empfehlenswert, bei einem Defekt die komplette Kopfeinheit auszutauschen, da sie ab Werk durch ein Spezialgerät spurgenau eingestellt ist. Der Kopfträger läßt sich durch Lösen der drei Schrauben (E) und Ablöten der Leitungen auswechseln.

3.1.7 Geschwindigkeitswähler

Es ist auf unbedingte Sauberkeit der Gummilaufflächen des Antriebsrades sowie der Laufflächen von Motorrolle, Antriebsriemen und Schwungmasse zu achten.

Bei allen Arbeiten am Gerät sind die Laufflächen zu reinigen (siehe Kap. 3.3).

3.1.7.1 Prüfung und Einstellung

(siehe Bild 17)

Zur Prüfung ist die Bandgeschwindigkeit 9,5 cm/s einzustellen. Zwischen dem Rand der Schwungmasse (A) und dem Rand des Antriebsrades (B) muß ein Abstand von ca. 1,5 mm vorhanden sein.

Bei nicht gedrückter Starttaste muß ein Abstand von ca. 0,5 mm zwischen den Laufflächen der Schwungmasse (A) und der Lauffläche des Antriebsrades (B) bestehen.

Eine Einstellung des Abstandes von ca. 0,5 mm zwischen den Laufflächen von Schwungmasse (A) und Antriebsrad (B) kann durch Biegen des Lappens (C) am Steuerschieber (D) vorgenommen werden.

3.1.7.2 Prüfung und Einstellung des Andruckes der Schwungmasse an das Antriebsrad

(siehe Bild 17)

Der Druck der Schwungmasse (A) an das Antriebsrad (B) muß 75 p bis 85 p betragen. Zur Messung der Andruckskraft eine Federwaage am Punkt (E) einhängen. Die Taste „Start" drücken und die Federwaage in entgegengesetzter Richtung zum Andruck der Schwungmasse (B) abziehen, bis das Antriebsrad (B) von der Schwungmasse (A) nicht mehr angetrieben wird.

Durch Biegen des Streifens (F) kann die Federspannung der Zugfeder (G) verändert werden. Damit läßt sich der Sollwert von 75 p bis 85 p einstellen.

3.2 Auswechseln von Teilen

3.2.1 Auswechseln des Motors 

(siehe Bild 18)

Nach Entfernen der Schrauben (A) und (B) sowie der zum Motor (C) führenden Anschlußkabel kann der Austausch vorgenommen werden. Der Motor ist so einzubauen, daß die Riemen (E) und (F) aus den Motorrollen (D) und (G) senkrecht in die Laufrillen der Schwungmasse und Umspulwippe einlaufen.

Anschließend die Einstellung der Bandgeschwindigkeit prüfen (siehe Kap. 4.2).

3.2.2 Auswechseln des Riemens für den schnellen Vor- und Rücklauf (siehe Bild 18)

Die Taste »RÜCKLAUF« drücken. Den Riemen (F) von der Motorrolle (G) abheben und über das Friktionsrad (H) abziehen. Der Einbau erfolgt in umgekehrter Reihenfolge. Es ist darauf zu achten, daß der Antriebsriemen beim Einbau nicht in sich verdreht ist.

3.2.3 Auswechseln des Riemens zur Schwungmasse

(siehe Bild 18)

Den Riemen (E) aus der Laufrolle der Motorrolle (D) und der Schwungmasse heben. Beim Auflegen des neuen Riemens ist darauf zu achten, daß der Riemen nicht in sich verdreht eingelegt wird (falls sich der Riemen während des Betriebs dennoch verdreht, ist er in diesem Zustand zu belassen).

3.2.4 Auswechseln des Riemens zum Bandzählwerk

(siehe Bild 18)

Den Riemen aus den Laufrillen des Bandzählwerks und des Antriebsrades (I) heben.

3.2.5 Auswechseln der Kupplungen 3.2.5.1 Rechte Kupplung (siehe Bild 6)

Die Justierschraube (T), Justierplatte (S), Druckfeder (R) und Wellensicherung (Q) entfernen. Auf die Unterlegscheiben (P) achten!

Kupplungsoberteil (F), Kupplungsscheibe (G) und Antriebsteller (K) können nun ausgetauscht werden. Der Zusammenbau erfogt sinngemäß in umgekehrter Reihenfolge. Mit der Justierschraube (7) ein axiales Spiel von 0,1 mm einstellen. Anschließend die Justierschraube (T) verlacken.

3.2.5.2 Linke Kupplung (siehe Bild 5)

Das Antriebsrad (E) an der Unterseite der Kupplung entfernen. Das Bremsseil der Bandzugregelung aushängen und das Kupplungsoberteil (A) nach oben abziehen. Auf Unterlegscheibe (B) und Zwischenscheibe (D) achten! Der Zusammenbau erfolgt sinngemäß in umgekehrter Reihenfolge.

3.2.6 Auswechseln des Antriebsrades und der

Kalottenlager (siehe Bild 19)

Ein Austausch des Antriebsrades (A) wird nur bei Beschädigung am Friktionsrad erforderlich. In diesem Fall kann die Widerlagerschiene (B) nach Entfernen der Schrauben (0) und (D) abgehoben und das Antriebsrad (A) aus dem oberen Kalottenlager (E) herausgezogen werden. Beim Einbau ist darauf zu achten, daß die in die Kalottenlager eintauchenden Zapfen der Tonwelle am zylindrischen Teil mit Sinterlager-Öl benetzt und an ihren Kappen mit Sinterlager-Fett geschmiert werden.

Leichtes Klopfen auf die Widerlagerschiene (B) beseitigt eine abweichende Parallelität der Achsen vom Kalottenlager und Zapfen der Tonwelle. Die Spannung der Feder (F) am oberen Kalottenlager (E) muß gerade so groß sein, daß kein axiales Spiel auftreten kann. Die Feder (F) muß im rechten Winkel genau auf den Mittelpunkt des Tonwellenzapfens drücken.

3.3 Schmierung und Wartung 

3.3.1 Schmierung

Alle wichtigen rotierenden Teile sind in dauergeschmierten Sintermetallagern gelagert. Normale Schmieröle werden von diesen Lagern nicht angenommen. Die Schmierung muß stets mit Sinterlageröl erfolgen. Eine Nachschmierung ist jedoch erfahrungsgemäß erst nach jahrelangem Betrieb erforderlich.

Alle Gleit- und Reibstellen sind nach ca. 500 Betriebsstunden mit nicht verharzendem Mehrzweckfett zu schmieren. Auf jeden Fall muß ein Übermaß an Schmiermitteln sorgfältig vermieden werden, da überschüssiges Fett oder Öl auf die Reibungsbeläge bzw. Antriebsriemen gelangen können und dort unweigerlich Betriebsstörungen verursachen. Die zu verwendeten Fette und Öle sind im UHER- Schmiermittelsatz (Bestell-Nr. 9046) zusammengestellt.

3.3.2 Wartung

Vor größter Wichtigkeit ist absolute Sauberkeit. Tonkopf- stirnflächen, Bandführungen, Tonwelle und Andruckrolle sind nach Entfernen der Tonkopfabdeckung von eventuell anhaftenden Bandschichtteilen oder Staubablagerungen sorgfältig zu reinigen; hierzu dient der UHER SpezialReinigungssatz (Bestell-Nr. ZI72).

Bei jeder Bearbeitung des Gerätes sind sowohl die Antriebsriemen als auch die Laufflächen aller rotierenden und durch Friktion getriebenen Teile des Laufwerks ebenfalls zu reinigen.

Alle Kontakte sind auf Sauberkeit zu kontrollieren und gegebenenfalls zu säubern.

4. Elektrische Baugruppen

4.1 Kontakte und Schalter

4.1.1 Kontakt für die Umspulfunktion << >>

(siehe Bild 20)

Die Taste „Umspulfunktion" links << oder rechts >> langsam niederdrücken. Auf halbem Weg muß der Mikroschalter umspringen, und vor dem Einrasten der Taste muss sich die Motordrehzahl erhöhen.

Die Einstellung erfolgt nach Lockern der Schrauben (A). Die Vorwahl der Bandgeschwindigkeit hat keinen Einfluß auf die Umspulfunktion.

4.1.2 Kontakt für die Aufnahmevorbereitung „K 2"

(siehe Bild 20)

Die Aufnahme-Taste »RECORD« drücken. Kurz vor dem Einrasten der Taste muß der Mikroschalter umspringen. Das wird durch Aufleuchten der LED »REC« angezeigt. Die Einstellung erfolgt nach Lockern der Schrauben (B).

4.1.3 Kontakt für den Start „K 4" 

(siehe Bild 20)

Die Taste »START« drücken. Auf halbem Weg und bevor das Reibrad greift muß der Mikroschalter umspringen. Er schaltet den Verstärker für die Wiedergabe auf.

Die Einstellung erfolgt nach Lockern der Schrauben (0).

4.1.4 Kontakte „K 5, K 6 und K 8" als Mikroschalter

(siehe Bild 20)

Über die Nocken des Geschwindigkeitsumschalters werden die drei Schalter gesteuert.

Kontakt „K 8" dient zum Ein- bzw. Ausschalten des Gerätes und muß bei jeder Geschwindigkeitseinstellung umspringen bzw. schließen.

Kontakte „K 5" und „K 6" werden unterschiedlich gesteuert und dienen dazu, die Aufnahme- und Wiederga- be-Entzerrung entsprechend der Bandgeschwindigkeit umzuschalten.

Eine Darstellung des Ablaufs ist aus Kap. 4.2 ersichtlich. Ein Nachjustieren des Schalter-Satzes ist nicht möglich, da er durch Nieten befestigt ist.

4.1.5 Kontakt „ K l " bzw. Taste »»LIGHT« Kontakt „K 3" bzw. Taste »MONITOR« Kontakt „K 11" bzw. Taste »BATT«

Die Funktionsbeschreibung ist aus der „Bedienungsanleitung" ersichtlich.

4.2 Elektrische Einstellung und Messwerte

Bei allen elektrischen Messungen ist besonders auf die Polung der Stecker von Mess- und Anschlusskabeln zu achten. Voraussetzung für alle Messungen und Einstellungen ist, daß sie bei einer stabilen Betriebsspannung von 6 Volt vorgenommen werden. Wenn nicht anders angegeben, wird die Spannung an Stift 3 und 6 / Masse der Buchse A angelegt.

Bei Arbeiten an den Transistoren sind die von den Transistorherstellern herausgegebenen Vorschriften zu beachten.

Wir empfehlen, die Einstellarbeiten mit Hilfe des DIN- Bezugsbandes 19 H (Hersteller BASF) durchzuführen.

Die Lage der im nachfolgenden Text angegebenen Mess- und Einstellpunkte ist ersichtlich aus

Die Darstellung der Stromlaufpläne befinden sich in Kap, 7.



4.2.1 Antrieb und Stromversorgung 

4.2.1.1 Betriebsspannung 

(R 402)

DC-Voltmeter am Messpunkt TP I anschließen. Mit R 402 die Spannung auf
4,9 Volt ± 1 0 mV einstellen.



4.2.1.2 Batteriespannungsanzeige (R 409)

Die Speisespannung auf 5,3 Volt verringern. Schalter »BATT.« betätigen. Mit R 409 den Zeiger des Anzeigeinstrumentes an das linke Ende des grünen Feldes »BATT.« stellen.

4.2.1.3 Symmetrie der Motorelektronik

(R317/R318)

NF-Voltmeter und Oszillograph an die Anschlüsse 302 / (+ UB) und 303 (Masse) der Motorelektronik anschließen. Die Motorelektronik mit R 317 und R 318 auf minimale Brummspannung und gleiche Impulshöhe abgleichen.

4.2.1.4 Bandgeschwindigkeit

Die Kontrolle der Bandgeschwindigkeit erfolgt mit dem Bezugspegel (1 kHz, 32 pWb/mm) des Bezugsbandes 19 H mit Hilfe eines Frequenzzählers. Der Anschluß erfolgt an den Kontakten 3 und 2 (Masse) der Buchse »RADIO/PHONO«.

a) Sollgeschwindigkeit 2,4 und 4,7 cm/s (R312)

Bandgeschwindigkeit 4,7 cm/s wählen. Bezugspegel wiedergeben. Die Sollgeschwindigkeit mit R 312so einstellen, daß der Frequenzzähler 250 Hz anzeigt.

b) Sollgeschwindigkeit 9,5 und 19 cm/s

(siehe Bild 23)

Die Bandgeschwindigkeit 19 cm/s wählen. Bezugspegel wiedergeben. Die Sollgeschwindigkeit nach Lockern der Schrauben (A) mittels der Exzenterschraube (B) so einstellen, daß der Frequenzzähler 1 kHz anzeigt. Die Schrauben (A) wieder fest anziehen.

Die Bandgeschwindigkeit 9,5 cm/s wählen. Bezugspegel wiedergeben. Die maximale Abweichung darf ± 0,5 % betragen (500 Hz ± 2,5 Hz).

Achtung: Die Geschwindigkeitsumschaltung darf nur so weit zur rechten Gehäuseseite verschoben werden, daß bei Bandgeschwindigkeit 4,7 cm/s der Gummibelag des Antriebsrades mit der gesamten Fläche auf der entsprechenden Abstufung der Schwungmasse aufliegt!


4.2.1.5 Azimuteinstellung des Wiedergabekopfes (siehe Bild 25)

Die Bandgeschwindigkeit 19 cm/s wählen. Bezugsband 19 H, Teil zur Spalteinstellung wiedergeben. NF-Voltmeter an die Buchse »RADIO/PHONO« anschließen:

a) REPORT 4000: Kontakte 3 und 2 (Masse).

b) REPORT 4200/4400: Kontakte 3 und 5 (über Umschalter) sowie 2 (Masse).

Mit der Schraube (D) den maximalen Ausgangspegel einstellen.


4.2.2 Aufnahme / Wiedergabebetrieb

Die Messungen im Aufnahme- / Wiedergabeteil sind mit der Messanordnung gemäß Bild 24 durchzuführen.



4.2.3 HF-Generator 

4.2.3.1 Kompensation

a) Nur für Report 4000:

AC-Voltmeter am Messpunkt TP II (R 149) anschließen, Gerät auf »RECORD« schalten. C 81 auf minimalen Spannungsabfall (Richtwert < 45 mV) abgleichen.

b) Nur für Report 4200/4400:

AC-Voltmeter am Messpunkt TP II (R 154) anschließen. Gerät auf »RECORD« schalten. Betriebsartenschalter auf »MONO I« stellen. C 72 auf minimalen Spannungsabfall (Richtwert < 45 mV) abgleichen. Abgleich in Stellung »MONO II« mit C 76 wiederholen.



4.2.3.2 Ausgangsspannung

Gerät auf »RECORD« (nur für Report 4200/4400: »RECORD« und »STEREO«) schalten.

NF-Voltmeter am Messpunkt TP III anschließen. Mit R 145 (Report 4000) bzw. R 148 (Report 4200/4400) die Ausgangsspannung auf 

25 V / 100 kHz einstellen.

4.2.3.2 Aussteuerungsanzeige

Gerät auf »RECORD« schalten. MONITOR-Schalter in Position „S" bringen. Tongenerator-Signal 315 Hz /10 mV.

a) Nur für Report 4000:

Einsteller »REO.« so weit nach rechts drehen, bis an der Buchse »MONITOR« 775 mV gemessen werden. Das Anzeigeinstrument mit R 136 auf 0 dB einstellen.

b) Nur für Report 4200/4400:

Einsteller »REC I« und »REC II« so weit aussteuern, bis an der Buchse »MONITOR« 775 mV gemessen werden. Die Anzeigeinstrumente mit 

R 114 (linker Kanal) bzw. R 115 (rechter Kanal) auf 0 dB einstellen.




4.2.3.3 Azimuteinstellung des Aufnahmekopfes (siehe Bild 25)

Bandgeschwindigkeit 19 cm/s wählen. Referenz-Leer- band auflegen. Tongenerator-Signal gegenüber Kap. 4.2.2.2 um 20 dB verringern. Einsteller »REG.« (nur für Report 4200/4400: »REC I«, »REC II« und »MASTER«) nicht verändern.

MONITOR-Schalter in Position „T" bringen. Bei einer Messfrequenz von 20 kHz mit der Schraube (C) maximalen Ausgangspegel einstellen.

Nur für Report 4200/4400: Zur Vermeidung von Phasenfehlern die Kontakte 3 und 5 der Buchse »RADIO/PHONO« parallelschalten.




4.2.3.4 Vormagnetisierung

Referenz-Leerband auflegen. Messfrequenz 315 Hz mit - 20 dB Aussteuerung abwechselnd bei 19 cm/s und 4,7 cm/s aufzeichnen.

Vormagnetisierungsstrom mit G 82 (nur für Report 4200/ 4400: G 810 / linker Kanal bzw. G 813/ rechter Kanal) so einstellen, dass in Position T des MONITOR-Schalters bei 4,7 cm/s exakt der gleiche NF-Pegel gemessen wird wie bei 19 cm/s.

Nach einer Veränderung des Vormagnetisierungsstromes muss kontrolliert werden, ob der Gesamtfrequenzgang innerhalb des Toleranzfeldes nach DIN 45 500, Blatt 4 liegt (siehe Bild 26).





4.2.3.5 Aufsprechstrom und Wiedergabepegel

Bandgeschwindigkeit 19 cm/s wählen. Referenz-Leerband auflegen. Messfrequenz 315 Hz mit 0 dB Aussteuerung entspr. 775 mV an der Buchse »MONITOR« aufzeichnen. Den MONITOR-Schalter von „S" (Source = Quelle) auf „T" (Tape = Band) umschalten.

a) Nur für Report 4000:

R 118 so einstellen, dass der Klirrfaktor k3 über Band 3 % ist. Anschließend den Wiedergabepegel mit R 9 auf 0 dB entspr. 775 mV an der Buchse »MONITOR« einstellen.

b) Nur für Report 4200/4400:

R 119 (linker Kanal) bzw. R 120 (rechter Kanal) so einstellen, daß der Klirrfaktor k3 über Band 3 % ist. Anschließend den Wiedergabepegel mit R 9 (linker Kanal) bzw. R 10 (rechter Kanal) auf 0 dB entspr. 775 mV an der Buchse »MONITOR« einstellen.

Aus dieser Einstellung resultiert beim Abspielen des Pegeltonteils des DIN-Bezugsbandes 19 H ein Wiedergabepegel von 410 mV (Report 4000/4200) bzw. 470 mV (Report 4400).

4.2.3.6 Aussteuerungsautomatik

(nur für Report 4000)

Geräte anschließen:

Tongenerator an Kontakte 1 und 2 (Masse) der Buchse »RADIO/PHONO«,

NF-Voltmeter und Oszillograph an Kontakte 3 und 2 (Masse) der Buchse »MONITOR«.

Bandgeschwindigkeit 19 cm/s wählen und Gerät auf »RECORD« schalten. ALC-Schalter auf Position „1" und MONITOR-Schalter auf Position „S" stellen (nur für Geräte ab Nr. 1 426 03121. Vor dem Neuabgleich R 819 so einstellen, dass am Schleifer die volle Spannung von + 4,9 Volt anliegt,

a) Grundempfindlichkeit

Tongenerator-Signal 315 Hz / 7 mV am Radioeingang. R 814 so einstellen, daß an der Buchse »MONITOR« 550 mV gemessen werden.

b) Regelzeit

Tongenerator-Signal 315 Hz/23 mV am Radioeingang. Die Ausgangsspannung an der Buchse »MONITOR« muß 550 mV betragen.

Tongenerator-Signal um 20 dB verringern. R 813 so einstellen, daß nach 12 Sekunden wieder 550 mV Ausgangspegel erreicht wird (in Stellung „2" des ALC-Schalters beträgt die Regelzeit 120 Sekunden).

c) Regelbereich

(ab Geräte-Nr. 1 426 03121)

Tongenerator-Signal 315 Hz/ 60 mV am Radioeingang.

R 819 langsam so verdrehen, bis der NF-Pegel um 0,2 dB ansteigt.

4.3 Gleichlauf

Die Messung erfolgt mit dem Tonhöhenschwankungs- messer:

Sollwert (bewertet): ± 0,15 % bei 19,05 cm/s.

Zur Messung ist unbedingt ein einwandfreies Tonband zu verwenden.

4.4 Messung des Gesamt-Frequenzganges

Die Messung muß für die Geräte 4200 und 4400 Report Monitor bei beiden Kanälen durchgeführt werden. Der Anschluß erfolgt jeweils an der Buchse »RADIO/PHONO«.

Belegung für 4000 Report Monitor:

Kanal I: - Eingang Kontakte 1, 4 und 2.

- AusgangKontakte 3, 5 und 2. 

Belegung für 4200/4400 Report Monitor:

Kanal I: - Eingang Kontakte 1 und 2. 

- AusgangKontakte 3 und 2.

Kanal II: - EingangKontakte 4 und 2. 

- Ausgang Kontakte 5 und 2.

Ausgang für Buchse »Lautsprecher« siehe Schaltbild.

Vor Beginn der Messung sind folgende Punkte besonders zu beachten:

Tonkopf entmagnetisieren.

Aussteuerungsanzeige prüfen, siehe Kap. 4.2.2.2. Toleranzfeld des Gesamt-Frequenzganges, siehe Bild 26.

Messungen bei allen Bandgeschwindigkeiten unter Verwendung des UHER-Testbandes durchführen (siehe Kap. 4.2.1.4).

Tonband einmal vor- und zurückspulen.

Stabile Betriebsspannung von 6 Volt beachten!

Zur Festlegung des Messpegels von 20 dB unter Vollaussteuerung werden zunächst 1 000 Hz mit ca. 10 mV über die Kontakte 1 und 2 (Masse) der Buchse »RADIO/PHONO« eingespeist. Der Aussteuerungsregler wird nun so weit aufgedreht, bis das Anzeigeinstrument Vollaussteuerung anzeigt. Danach die Ausgangsspannung des Tongenerators um 20 dB verringern (das ist ein Zehntel der für die Vollaussteuerung erforderlichen Spannung) und die nebenstehenden Prüffrequenzen aufnehmen.

An die Kontakte 3 und 2 (Masse) der Buchse »RADIO/ PHONO« wird ein Voltmeter angeschlossen. Die aufgenommenen Prüffrequenzen werden wiedergegeben. Die Spannungswerte der einzelnen Prüffrequenzen sind abzulesen.

4.5 Messung der Störspannung

Die Messung muß für die Geräte 4200 und 4400 Report Monitor bei beiden Kanälen durchgeführt werden. Der Anschluss erfolgt jeweils an der Buchse »RADIO/PHONO« wie unten stehend angegeben.

Die Ermittlung z.B. des Fremdspannungsabstandes nach DIN 45 405 setzt die Anwendung von Messgeräten mit speziellen Eigenschaften voraus. Da derartige Messgeräte voraussichtlich nicht in allen Werkstätten vorhanden sind, wird die nachfolgend beschriebene Messung empfohlen:

NF-Millivoltmeter an den Kontakte 3 und 2 (Masse) der Buchse »RADIO/PHONO« anschließen. UHER-Testband auf dem Gerät vollständig löschen. Der Regler »AUSSTEUERUNG« muß bis zum linken Anschlag gedreht werden und anschließend wiedergeben. Die dabei vom Millivoltmeter angezeigte Spannung darf max. 1,6 mV betragen.

Die Messung für Kanal II wiederholen. NF-Millivoltmeter an den Kontakte 5 und 2 (Masse) der Buchse »RADIO/ PHONO« anschließen.